近日,企查查显示,江苏硕世生物与广西和合医学检验实验室有限公司、吉林和合医学检验有限公司、黑龙江和合医学检验实验室有限公司、沈阳和合医学检验所有限公司、昆明和合医学检验所有限公司、合肥和合医学检验所有限公司、石家庄和合医学检验实验室有限公司、苏州和合医学检验有限公司、长沙和合医学检验实验室有限公司等因为买卖合同纠纷,对簿公堂。


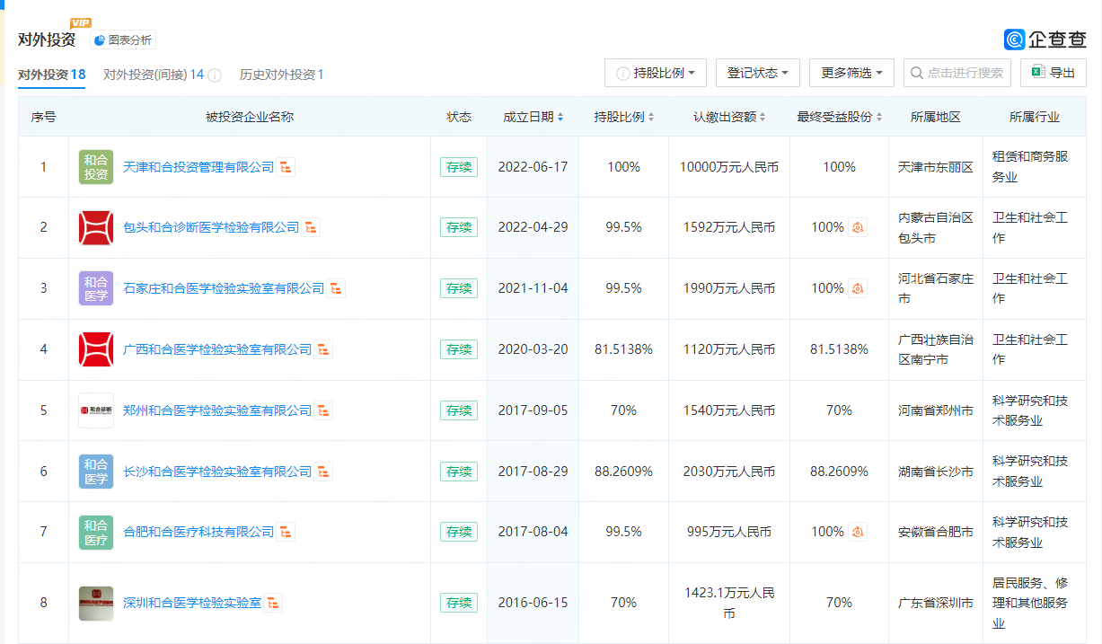
北京和合医学检验所有限公司成立于2010年9月7日由北京国立柏林医学科技发展有限公司设立,注册资本4500万元人民币。是国家卫生部2009年12月印发《医学检验所基本标准(试行)》以来,北京市卫生局批准的第一家专业从事第三方检验的临床医学检验所。

硕世生物一连将和合医学系9家区域检验所子公司告上法庭,首先可以看出和合医学目前的资金状态不是很好,其次也能预估出硕世生物与和合医学的涉案合同金额不在少数。
此前,硕世生物(688399.SH)披露2023年年度报告,该公司报告期实现营业收入4.03亿元,同比下降92.72%。归属于上市公司股东的净亏损3.74亿元,归属于上市公司股东的扣除非经常性损益的净亏损4.29亿元,同比由盈转亏。
从应收账款来看,硕世生物目前仍有1.08亿元的账款尚未收回,在核酸检测企业中,硕世生物的应收账款是最少的企业之一了。

无独有偶,除了硕世生物,其他核酸检测企业也有类似情况。
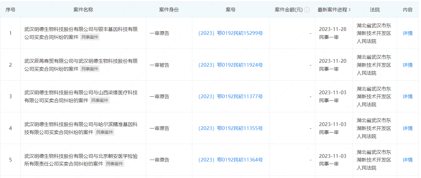
据企查查数据显示,武汉明德生物去年11月有5个合同纠纷进入民事一审,买卖合同纠纷方分别是银丰基因科技、武汉辰苒商贸、山西柒缘医疗、哈尔滨精准基因、北京朝安医学检验所、黑龙江精卫医学检验实验室等。

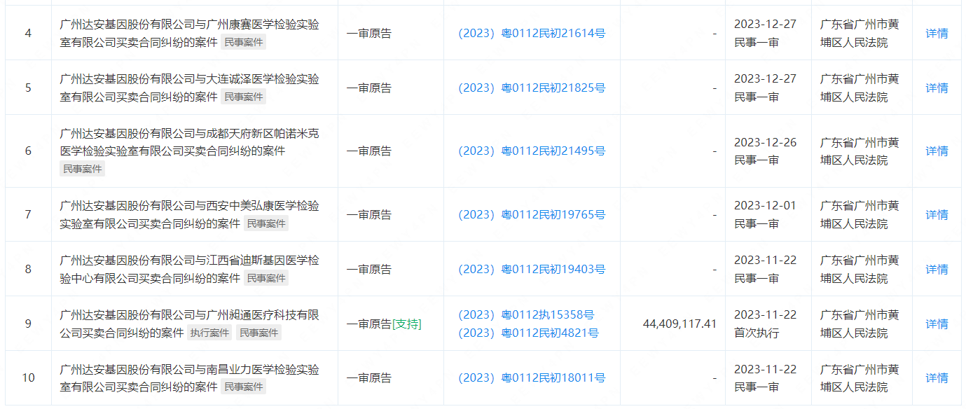
作为国内新冠核酸检测龙头企业的达安基因也是深陷要账泥潭,自23年4月起已与上海泛亚检验所、北京星云检验所、北京方圆平安检验所、珠海思达医学检验所、上海度微检验所、北京奎克检验所、吉林和合检验所、北京金准检验所、长沙长野检验所、北京朝安检验所、北京华德康三间房检验所、北京朴石检验所、武汉光谷联合检验所、南昌业力检验所、江西迪斯基因检验所、西安中美弘康医学检验实验室、成都天府新区帕诺米克医学检验实验室、大连诚泽医学检验实验室、广州康赛医学检验实验室等多家检验所因为买卖合同纠纷对簿公堂。

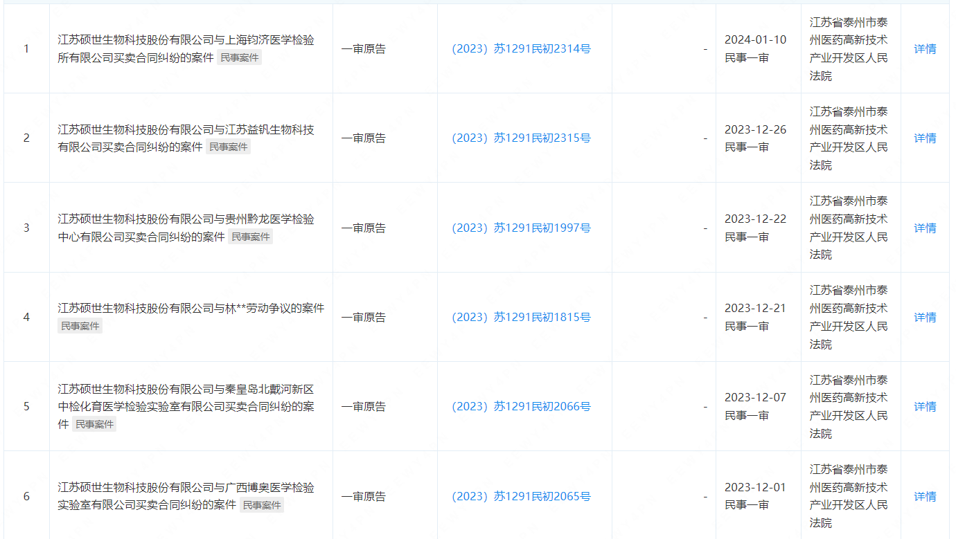
而硕世生物除了和合医学系列的合同纠纷外,与其他多家检验所也存在买卖合同纠纷,涉及上海钧济医学检验所、贵州黔龙医学检验中心、秦皇岛北戴河新区中检化育医学检验实验室、广西博奥医学检验实验室、南京中润医学检验、黑龙江精卫医学检验实验室、成都久欣医学检验、成都凡迪医学检验所、上海探洇医学检验实验室、乐山道可名康医学检验实验室、泸州道可名康医学检验实验室、上海塞力斯医学检验实验室、上海裕隆医学检验所、上海裕隆神光医学检验实验室等。

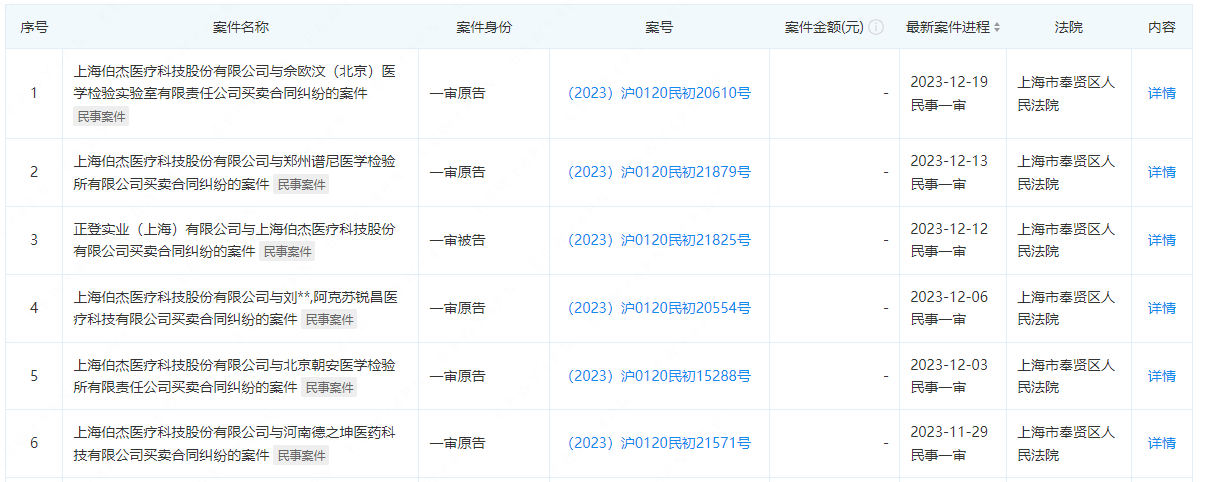
作为新冠核酸检测领域的黑马,上海伯杰生物的检索数据显示,其与佘欧汶(北京)医学检验实验室、郑州谱尼医学检验所、北京朝安医学检验所等同样存在一定的买卖合同纠纷。

同样做为即得红利者,上海之江生物、圣湘生物、凯普生物等在买卖合同方面的纠纷几乎没有。
这种差异的来源,有可能是销售模式和账期等销售管理的方式差异,也有可能是面对买卖合同纠纷的处理方式差异导致的。
/来源:IVD从业者网、企查查
